1
/
van
4
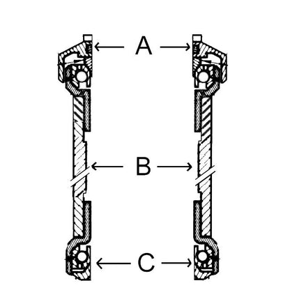
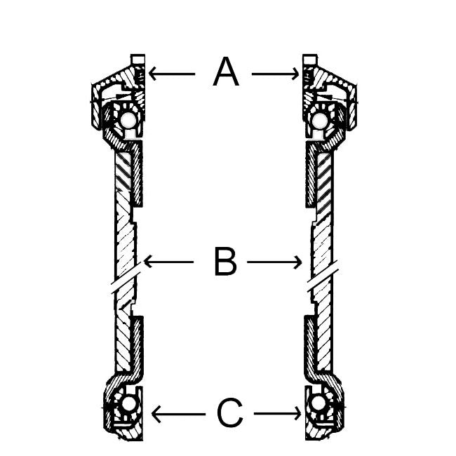
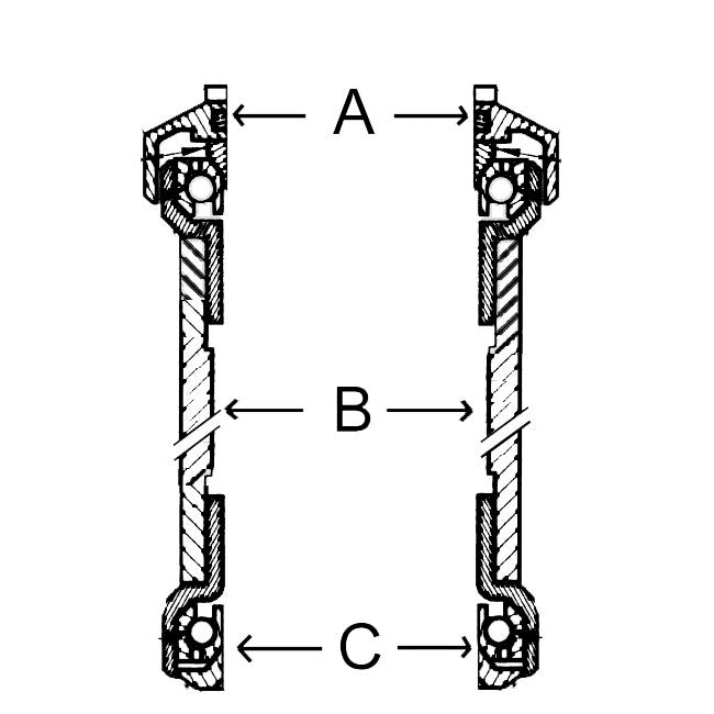
Tange Seiki Ahead set 1" aluminium zilver
Tange Seiki Ahead set 1" aluminium zilver
SKU:83390343
Normale prijs
€14,25 EUR
Normale prijs
Aanbiedingsprijs
€14,25 EUR
Eenheidsprijs
/
per
Nog maar 1 op voorraad
| Eigenschap | Waarde |
|---|---|
| Aantal in verpakking | 1 |
| Barcode | 4015493390626 |
